Skip to content

RDE0018 Analytical Cell Kit

RDE0018 is an analytical cell kit with a larger opening to support rotating electrodes for RDE and RRDE experiments.


    Our accessories

  • Highlights +


    • Designed with two cell top configurations, one for general use and the other for accommodating a rotating electrode (RDE, RRDE, RCE) connected to the 616 or 636 A/B rotator
    • Supplied with a platinum wire counter electrode and Ag/AgCl reference electrode
    • Standard 14/20 tapper joints can accommodate a variety of working electrodes and reference electrode chemistries
    • Operates with solution volumes from 5 – 50 mL

  • Electrochemical Cell Kits Family +


    Electrochemical Cell Kits Family
    Electrochemical analyses of all types require many components in addition to the potentiostat or galvanostat to provide a complete solution.  Corrosion and voltammetry cells, electrodes and battery holders turn your potentiostat into an electrochemical test system.


     Electrochemical Cell Kits
    Part Number
    Description
    K0235
    Flat Cell Kit
    K0047 Corrosion Cell Kit
    RDE0018
    MicroCell Kit
    K0280 Analytical Cell Kit
    K0307 Tait Cell Kit
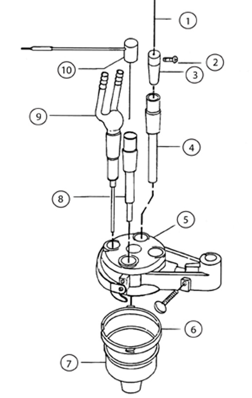
  • Diagram +


    Analytical Cell Kit
  • Replacement Parts, Packing List +



    Part Number
    Description
    Quantity  
    K0060 Cell Bottom  Kit 1
    1601-0077-0
    Cell Collar
    1
    1601-0009-7
    Cell Bottom   
    K0066 Top Assembly 1
    RDE0010 Top Assembly
    (accommodates rotator)
    1
    RDE0019 Purge Tube 1
    RDE0020 Reference Electrode Tube Assembly
    1
    RDE0021 Pt Counter Electrode Wire 1
    RDE0022 AgCl-KCl Filling Solution 1
    RDE0023 Counter Electrode Bridge Tube 1
    RDE0024 Reference Electrode Cap 1
    RDE0025 Counter Electrode Cap
    1
    2811-0205-0
    Counter Electrode Screw
    1
    232516
    Glass Body Gasket
    1
    232512
    Wing Nut 1
    232514 Pipe Plug 1
    2815-0101-0
    Flat Washer
    1
    232637
    Hex Nut
    1
    232636
    Flat Washer
    1
    232832  Screw 1
         

  • Specifications and Dimensions +



     Specifications  RDE0018 Analytical Cell Kit
    Dimensions
    Operating Volume  5 - 50 mL
  • Working Electrodes and Options +



     Additional Options for RDE0018 Analytical Cell Kit

    G0028 Purge Tube
    G0300  Porous Glass Frits  
    K0015 Polishing Kit
    K0062  Polarographic Cell Bottom
    K0064 Jacketed Cell Bottom
    K0065 Reference Electrode Bridge Tube
    K0085 Polarographic Cell Bottoms
    (Package of 6)
    RDE0026 Reference Electrode Bridge Tube
    K0077 Saturated Calomel Reference Electrode
    G0093
    Mercury-Mercurous Sulfate Reference Electrode
    K0103 Non-Aqueous Reference Electrode
    G0155 Non-Aqueous Filling Solution
    G0194 Polyethylene Frits and Tubing
       
Request Info

For details on our products and their applications, please submit your contact information with the form below: